頂裝式翻板液位計工作原理
點擊次數:2781 發布時間:2021-06-18 00:52:26
頂裝式翻板液位計是一種現場實時指示型液位計,在各行各業的液位測量中都有廣泛地應用。那么,頂裝式翻板液位計的工作原理、產品結構和特點是怎樣的呢?本文就此介紹如下,希望大家對頂裝式翻板液位計有更為深入地了解和認識。
一、頂裝式翻板液位計的原理
頂裝式翻板液位計主要基于連通器和磁性耦合原理實現對液位的實時測量和顯示。浮筒內的磁性浮子隨容器中被測液位的升降而升降,浮子內的永久磁鋼通過磁性耦合驅動浮筒外部的磁性翻片翻轉180°。翻片兩面分別涂有不同顏色(通常為紅色和白色),以指示液位的位置,一般地,當容器內液位上升時,翻片由白色轉變為紅色,當容器內液位下降時,翻片由紅色轉變為白色,指示器的紅白交界處為容器內液位的實際高度。

頂裝式翻板液位計與超聲波液位計*大的區別就是接觸式測量和非接觸式測量。
頂裝式翻板液位計的優勢是結構簡單、具有高密封,防泄漏等特點,適用于高溫、高壓、耐腐蝕的場合,顯示直觀、醒目,測量范圍比較廣;而超聲波流量計的優勢是流量測量準確度幾乎不受被測流體溫度、壓力、粘度、密度等參數的影響,又可制成非接觸式測量儀表,可解決其它類型儀表所難以測量的強腐蝕性、非導電性、放射性及易燃易爆介質的流量測量問題。
頂裝式翻板液位計作為接觸式測量儀表,需要考慮的與介質接觸的防腐性材質問題,而超聲波流量計則不需要考慮。雖然超聲波液位計也可以測量腐蝕性介質,但是一旦出現揮發性介質,就另當別論了。當介質內出現真空啊、蒸汽含量過高、以及液面泡沫等情況時是不能選用超聲波液位計的,而頂裝式翻板液位計對這一系列工況毫無影響。超聲波液位計雖然測量先進度方面比頂裝式翻板液位計先進,但是安裝方面比較復雜,測量介質限制條件比較多,一般情況下啊,測量液位都選擇頂裝式翻板液位計,只有當頂裝式翻板液位計不適用的時候,才考慮超聲波液位計或者雷達液位計。
二、磁翻板液位計的結構
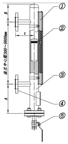
磁翻板液位計的結構由浮筒(主導管)、磁浮子、磁翻板(磁翻柱)、指示器、排污閥、連接法蘭等組成。如下圖所示:

磁翻板液位計結構圖
①指示器;②磁浮子;③浮筒;④連接法蘭;⑤排污閥
三、頂裝式翻板液位計的特點
頂裝式翻板液位計簡便易用,具有以下突出特點和優點:
1、以浮子為感測元件,利用磁鋼驅動翻片指示,因此無需能源輔助;
2、通過高密封、防泄漏等技術措施,頂裝式翻板液位計即使在低溫、高溫、高壓、強腐蝕等各種惡劣的環境下,也能安全可靠工作;
3、因為頂裝式翻板液位計的兼容性高,所以一直以來在工業生產中都得到了廣泛的應用,是槽、罐等容器液位測量中的理想之選。
但由于現場工況復雜,在實際測量中,要求有不同型號的頂裝式翻板液位計與之相適應。目前,頂裝式翻板液位計按不同的標準可以分為不同的類型,如標準型、經濟型、塑料型、內襯型、防爆型、保溫型等等。上述不同類型的頂裝式翻板液位計也具有各自不同的特點:
(1)塑料型磁翻板液位計
是常用的防腐型液位計,在相同的量程下,重量約只有標準型磁翻板液位計的1/5,特別方便現場的安裝。計為Flap-11C塑料型磁翻板液位計適用于電廠化學水處理、污水處理、印染行業,以及對PVC/PP不相溶的其他酸性介質的測量。
(2)計為Flap-11S經濟型磁翻板液位計
采用304不銹鋼材質,適用于大部分工況與輕微腐蝕性液體的液位測量。經濟適用是其*為突出的特點,浮筒采用直徑51mm的優質無縫不銹鋼管,有效避免了普通管材易泄漏、壽命短、耐壓不足等缺陷,提高了產品的可靠性。
(3)Flap-11P內襯四氟防腐型磁翻板液位計
主要應用于具有較強腐蝕性液體的測量,適用于強酸、強堿、強氧化劑、有機溶劑等介質的測量,在化工、煉油、儲運和水處理等行業應用廣泛。
(4)計為防爆型磁翻板液位計
適用于易燃易爆環境里,需要電信號遠程傳輸的情況,與磁開關或遠傳變送器相配合,可以實現高低液位的報警動作和對液位實行遠程實時控制。
(5)計為保溫型磁翻板液位計
可根據用戶的具體情況進行定制,其中包括真空夾套型、蒸汽夾套型、熱水加熱型、夾套冷卻型、電伴熱式保溫型、保溫棉式保溫型等等,適用于測量液體的粘度比較大、冬天易凝固的液體、溫度比較低或比較高的液體介質的測量。
上一篇:磁力翻板液位計怎么安裝
下一篇:高溫翻板液位計選購參數指南


